新闻动态
宁波乔普电器有限公司详解欧洲二极插头
- 2011-02-21 14:01:36
-
宁波乔普电器有限公司详解欧洲二极插头

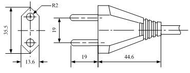
电气参数:
电流:2.5A 电压:250V 频率:50Hz
简 介:
欧式插头(无接地)说明:
欧州插头(无接地)制造标准按CEE 7/16 标准执行。两圆柱无接地,跨距为19mm,圆柱直径4mm,在大部分欧洲国家使用:德国、奥地利、瑞士、意大利、荷兰、比利时、法国、西班牙、葡萄牙、丹麦、挪威、瑞典、芬兰、希腊、土耳其、以色列、波兰、捷克共和国、斯洛伐克、匈牙利、罗马尼亚、保加利亚和俄罗斯。也用于中东,大多数非洲,南美和许多发展中国家。所有要进入欧盟国家的进口设备都要严格按照欧盟标准对电源线和插头插座进行VDE认证,这是必须的、强制的。
注:欧洲标准墙壁插座也通用此标准。
法国标准的插头接地是单级嵌入式,插座上有凸出的接地插脚,非常特殊。
- 上一篇 [返回首页] [打印] [返回上页] 下一篇




